随着近年来柔性屏相关技术的不断完善,各大手机厂商也基于其陆续推出诸如曲面屏、折叠屏、卷轴屏,以及环绕屏等多种产品形态,并且也受到了外界的众多关注。继此前有传言曝光了三星旗下卷轴屏机型的相关信息后,日前有消息源也公布了其卷轴屏机型的三种设计专利示意图,显示其未来或将带来更多不同的产品形态。

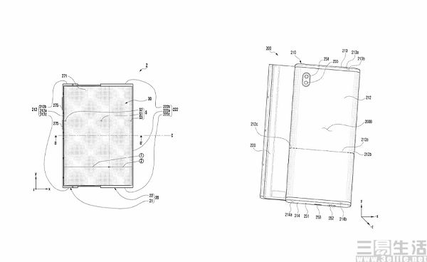
根据此次曝光的专利示意图显示,此次的三款卷轴屏机型产品形态除了屏幕上下与左右伸展外,第三种形态虽然依旧是屏幕左右伸展,但在内部结构方面与前者有着一定的差异。事实上,目前卷轴屏机型最大的问题在于屏幕伸展结构对于机身内部空间的影响,导致无法安置相对较大容量的电池,因此也造成了现阶段没有这类量产机型面世。

此前其实已有包括LG与OPPO等厂商,就曾公布过旗下的卷轴屏概念机型,但至今为止还没有一家厂商真正将其推动市场。而作为目前手机行业的最大屏幕供应商之一,三星方面在这一领域也有着不小的优势,但至于该品牌的卷轴屏机型将于何时亮相,则还有待官方后续更进一步消息的确认,有兴趣的朋友不妨继续保持关注。
【本文图片来自网络】
